<th id="trpnp"><noframes id="trpnp"><th id="trpnp"></th>
<span id="trpnp"><noframes id="trpnp">
<span id="trpnp"><video id="trpnp"></video></span>
<span id="trpnp"><video id="trpnp"></video></span>
<strike id="trpnp"></strike>
<ruby id="trpnp"></ruby>
<strike id="trpnp"></strike>
<span id="trpnp"><noframes id="trpnp"><span id="trpnp"></span>
<span id="trpnp"><noframes id="trpnp">
<th id="trpnp"></th>
位置:首頁 >> 新聞中心

金屬材料三點彎曲試驗機測試時滿足那些技術要求

作者:中創試驗機時間:2021-08-31 08:55 瀏覽:
金屬材料三點彎曲試驗機測試時滿足那些技術要求

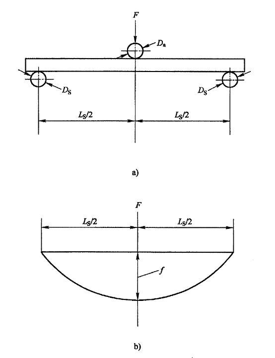
1兩支輥的直徑應相同,壓頭上施力輥的直徑宜與支輥的直徑相同,輥的直徑按表2選用。支輥和施力輥的長度應大于試樣直徑或寬度。

 金屬材料三點彎曲試驗機測試時滿足那些技術要求

2兩支輥的軸線應平行,施力輥的軸線應與支輥的軸線平行。

3施力輥的軸線至兩支輥的軸線的距離應相等,偏差不大于士0.5%。試驗時,力的作用方向應垂直于兩支輥的軸線所在平面。

金屬材料三點彎曲試驗機測試時滿足那些技術要求 

4試驗時,輥應能繞其軸線轉動(相關產品標準或協議另有規定除外),但不發生相對位移。兩支座之間的距離應可調節。應帶有指示距離的標記。跨距應準確到士0.5%

5輥的硬度應不低于試樣的硬度,其表面粗糙度參數Ra比較大值一般為0.8um

電話:0531-85990007
微信:18615658716(陳經理)
Q Q:34485487
地址:濟南市槐蔭區西沙路690號

?
<th id="trpnp"><noframes id="trpnp"><th id="trpnp"></th>
<span id="trpnp"><noframes id="trpnp">
<span id="trpnp"><video id="trpnp"></video></span>
<span id="trpnp"><video id="trpnp"></video></span>
<strike id="trpnp"></strike>
<ruby id="trpnp"></ruby>
<strike id="trpnp"></strike>
<span id="trpnp"><noframes id="trpnp"><span id="trpnp"></span>
<span id="trpnp"><noframes id="trpnp">
<th id="trpnp"></th>
制服丝袜