<th id="trpnp"><noframes id="trpnp"><th id="trpnp"></th>
<span id="trpnp"><noframes id="trpnp">
<span id="trpnp"><video id="trpnp"></video></span>
<span id="trpnp"><video id="trpnp"></video></span>
<strike id="trpnp"></strike>
<ruby id="trpnp"></ruby>
<strike id="trpnp"></strike>
<span id="trpnp"><noframes id="trpnp"><span id="trpnp"></span>
<span id="trpnp"><noframes id="trpnp">
<th id="trpnp"></th>
位置:首頁 >> 新聞中心

機車陶瓷絕緣子形狀和位置偏差如何檢查

作者:中創試驗機時間:2021-08-23 08:25 瀏覽:

機車陶瓷絕緣子形狀和位置偏差如何檢查

1端面平行度檢查

    測量時,將試品直立安裝在旋轉平臺中心,平臺表面與旋轉軸線應垂直(見圖1)。檢查支柱絕緣子

時,用圓錐形螺釘(見圖2}固定,頂端端面上用圓錐形螺釘將一塊厚度(不小于15 mm)均勻的圓板同心

地固定在安裝孔上,旋轉平臺一周,用千分表測量圓板上直徑為X50 mm(戶內支柱絕緣子為}}0 mm)

處表面至支架橫梁間的距離(即圖1A的距離),計算其比較大值與比較小值之差即為端面平行度(P)

:如產品標準未注明測量部位尺寸時,在產品上的實際測量值應換算為X250 mm(戶內支柱絕緣子為}}0} mm)

        處的數值。

對于未裝配附件的絕緣件(包括瓷套或瓷板類),則置于平臺中心,直接測量絕緣件上端表面至支架橫梁間的距離

機車陶瓷絕緣子形狀和位置偏差如何檢查 

2、平面度檢查

    測量時,用刀口尺或直尺與被測試品表面直接接觸,并使兩者之間的比較大間隙為比較小,用厚薄規(

)測量比較大間隙,在表面上各點測量中的比較大間隙(t)為試品表面的平面度,如圖3所示。

機車陶瓷絕緣子形狀和位置偏差如何檢查 

3、孔中心國軸線間比較大偏移檢查

測量時,試品按5.1規定安裝好。旋轉平臺一周。用千分表測量圓板柱面至支架間的距離(即圖1B的距離),計算其比較大值與比較小值之差的一半即為孔中心圓軸線間比較大偏移。

也可以采取絕緣子上附件與下附件軸線偏移檢查的試驗方法。

檢查時,將下附件置于劃線平臺上(平臺作為基準面),然后用劃線針找出上、下附件的中心位置,測

r兩點的距離乙(4),△值即為孔中心圓軸線間的偏移。

機車陶瓷絕緣子形狀和位置偏差如何檢查 

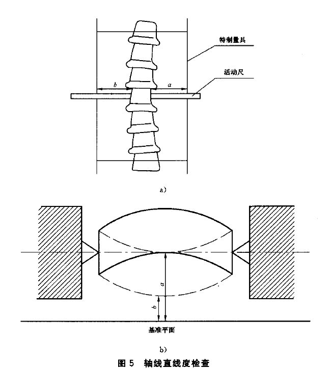
4、軸線直線度檢查

    測量時,將試品安裝在特制的量具中(5a)),或安裝在平行于基準平面的兩頂尖(或卡頭)連線之

間,頂尖頂在試品端面中心(sb,然后將絕緣子轉動一周,在沿垂直于軸線的截面圓周上測量與基

準平面間的距離ab,并沿軸線方向進行多點測量,取所測兩間距之差的一半((ab)/2)的絕對值中

的比較大值即為軸線直線度。

機車陶瓷絕緣子形狀和位置偏差如何檢查 

5傘緣變形度檢查

檢查針式、盤形懸式絕緣子的傘緣變形度時,將試品自由地放在一中空平臺上(6平臺作為基準

平面),用厚薄規(塞尺)測量傘緣與平臺之間的比較大間隙(t),此間隙即為傘緣變形度。

機車陶瓷絕緣子形狀和位置偏差如何檢查 

6國度檢查

    檢查時,測量垂直于軸線的同一截面上任意兩個直徑方向的比較大直徑與比較小直徑,其差值的一半作

為圓度測量的近似值。

7安裝孔的角度偏移檢查

    將絕緣子水平放置,必要時可使用V形塊。將具有精確機加工光柄的螺釘旋人端部附件的螺孔

中。在端部附件是光孔的情況,應使用錐柄螺栓。

在一端使用一個精確的酒精水準儀,在另一端使用一個直接讀數酒精水準儀,緊固孔的相對角度位

置的測定如圖7所示。

機車陶瓷絕緣子形狀和位置偏差如何檢查 

 

 也可以采用劃線法進行測量。

    檢查時將下附件置于劃線平臺上(平臺作為基準面),在上附件二安裝孔連心線的方向,取OBR

(R為下附件安裝孔中心圓的半徑)畫圓,與連心線相交于B點,然后將B點用吊線方法,投影到下附件

上,測量AB兩點的距離,利用R與乙值計算出偏移角度a(8)4

機車陶瓷絕緣子形狀和位置偏差如何檢查 

8粗糙度檢查

    粗糙度檢查可以采用粗糙度測量儀器進行測量,或建立同材質的標樣比照判斷。

9形狀和位皿偏差的其他檢測方法

    本標準規定以外的檢測方法,如能獲得等效的測量結果,也允許采用。

電話:0531-85990007
微信:18615658716(陳經理)
Q Q:34485487
地址:濟南市槐蔭區西沙路690號

?
<th id="trpnp"><noframes id="trpnp"><th id="trpnp"></th>
<span id="trpnp"><noframes id="trpnp">
<span id="trpnp"><video id="trpnp"></video></span>
<span id="trpnp"><video id="trpnp"></video></span>
<strike id="trpnp"></strike>
<ruby id="trpnp"></ruby>
<strike id="trpnp"></strike>
<span id="trpnp"><noframes id="trpnp"><span id="trpnp"></span>
<span id="trpnp"><noframes id="trpnp">
<th id="trpnp"></th>
制服丝袜